活動寶PC端管理后臺操作手冊
活動寶是一個專業的活動平臺,是線上線下活動營銷利器,集活動管理、營銷、裂變、蓄客、拓客、鎖客、互動、落地為一體,輕松助力各行業精準社群裂變及私域流量快速導流,幫助合作伙伴低成本快速獲取大量有效精準客戶,豐富的功能設置,全面滿足營銷需求。活動寶適用于單店、聯盟、連鎖店、總代理、商場、廠家、執行方、培訓會議等各類形式的活動均可!
活動寶的操作步驟如下所示:
第一步:登錄智慧云碼后臺,找到已開通產品-活動寶,點擊進入,如下圖所示:

1、關于如何新增主辦方,如下圖所示:
新增主辦方模塊填寫主辦方的資料并提交,可以新建一個主辦方。
說明:主辦方頭像為必填項。支持JPG/PNG,大小300*300PX,2M以內;
公司名稱,負責人名稱,身份證等加*號的都為必填項;
身份證號碼必須符合規格。手機號碼默認為該主辦方的登錄賬號;
身份證圖片要清晰,支持JPG/PNG,2M以內。
可建活動數指主辦方下面能創建活動數量,同時可進行活動數
負責人手機號必須準確和正常使用,并能接收驗證碼
必填信息填寫和確認好后,點擊提交開通主辦方賬戶。如下圖所示:

關于主辦方申請管理
主辦方申請管理,可查看參與者申請成為主辦方的列表,進行審核和查看詳情等。如下圖所示:

2、關于主辦方管理設置,如下所示:
2.1這里就是后臺已經創建的所有主辦方賬戶。可以通過主辦方名稱,狀態進行搜索。

2.2主辦方登錄地址:點擊打開主辦方資料位置,“登錄”二維碼,即可掃碼憑主辦方手機號和驗證碼登錄,以及可以pc電腦端登錄網址發送給商家,單獨登錄進行管理。如下所示:


2.3禁用和續期:續期可增加主辦方的創建活動數和增加賬戶有效期;禁用即是停止該主辦方的所有功能(謹慎操作) 。如下所示:


2.4管理:點擊管理進入主辦方工作臺,查看主辦方下創建的活動數,瀏覽數據,以及可以快速充值閱讀營銷獎勵金,短信數量等。如下所示:
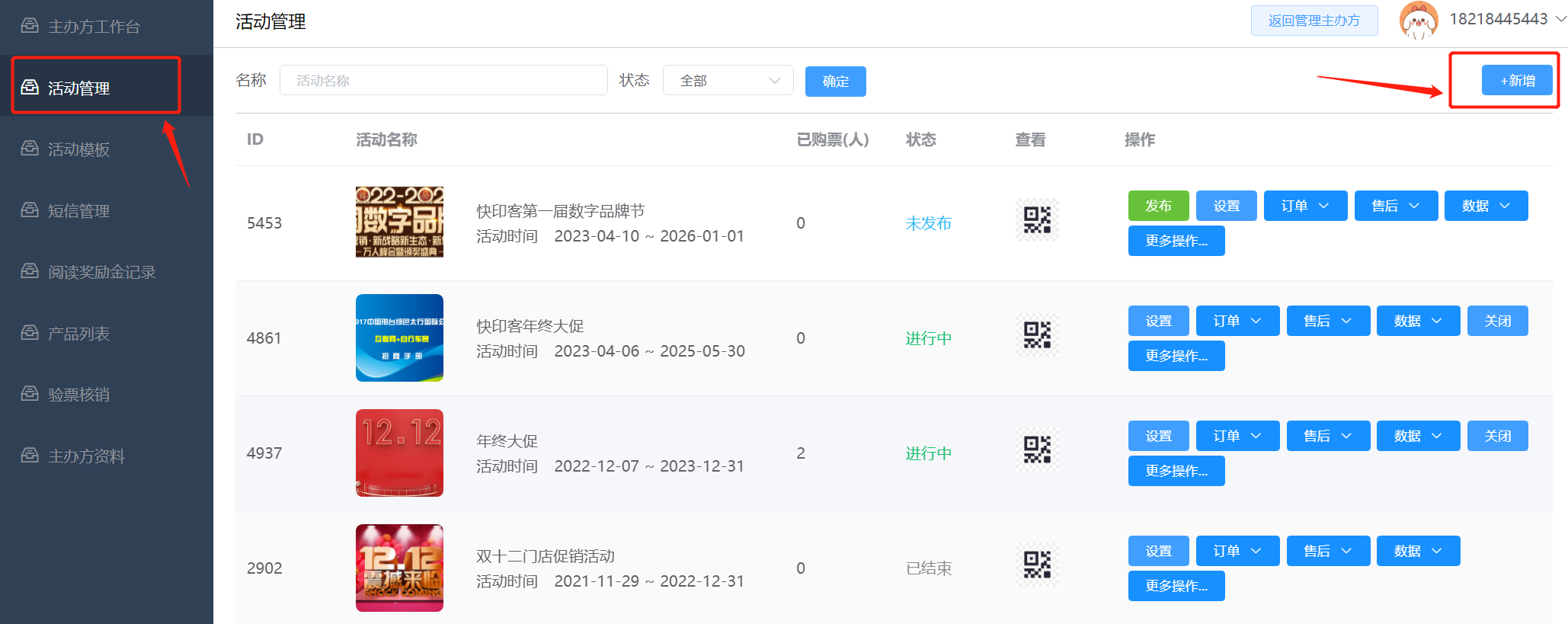
2.5 活動模板/活動管理:均可以在該主辦方下面新增活動。根據當下活動實際情況選擇現有模板或者創建空白模板,活動主題、活動時間、活動地址等如實填寫,必填項必須完善(活動時間請確認好,一旦提交和發布該活動,時間不可修改)。如下所示:


2.6 活動管理:可查看活動宣傳二維碼、和進入設置該活動基本內容。最終活動設置好確定好后再點擊發布!如下所示:

關于訂單:點擊后即可看到該活動下產生的爆款,拼團,門票,助力訂單信息。可以查看訂單客戶付款時間、客戶詳情、訂單狀態。按時間段篩選訂單,同時也可以表格形式導出訂單。如下圖所示:
關于爆款訂單列表

關于門票訂單列表

售后:可查看該活動改成的售后訂單,包括退票和退款訂單??刹榭瓷暾埻丝畹挠脩簟a品、原因和是否進行審核退款。如下圖所示:

數據:即該活動下產生的活動數據,如瀏覽數據,核銷數據。如下圖所示:
關閉:點擊關閉就是結束該活動。一旦關閉不可再次開啟,請謹慎操作。如下提示所示:
更多操作:可查看評論管理,互動抽獎數據,傭金管理,復制活動,群發短信,以及查看參與者信息。如下所示:
評論管理:可以查看該活動下用戶的評論,主辦方可決定是否通過審核顯示,或者針對不好的言論直接刪除。如下所示:
群發短信:即通過報名購買門票的客戶,自行選擇給哪些客戶發送短信群發通知活動。如下所示:

參與者:就是當活動沒有設置任何門票類型購買,那么默認填寫提交報名收集的數據。如下所示:
2.61設置:進入活動設置頁面。包括基本信息,活動裝修,營銷工具設置。如下所示:
2.62 裝修:進入設計活動首頁,根據活動情況添加組件。分為基礎組件和系統組件,基礎組件可以重復添加和刪除。每個組件可以進行相關樣式和順序調整。以及結合活動具體需求,增加各類組件完善,如下所示:

系統組件只允許添加一次,不允許重復添加。此處為系統組件添加后首頁的樣子,基于各類營銷活動顯示。如活動中包含爆款、拼團、門票、抽獎游戲,可以顯示在首頁;可以選擇瀏覽記錄,購買記錄,傭金排行等顯示出來吸引用戶。組件可以進行上下移動調整組件位置,也可以刪除組件,以及右邊操作是編輯組件設置,包括標題,樣式等。

控件設置可以設置“首頁客服電話懸浮顯示”“我的入口”,可以設置全局背景顏色、背景圖;上傳活動背景音樂(mp3格式)。如下所示:
排序:當前頁面設計的順序對應使用組件的名稱,點擊任意組件,可以修改名稱,也可以編輯該組件的設置。如下所示:
注:每次編輯修改內容后,記得右上角點擊保存
底部菜單:可以更改底部菜單顯示樣式,并設置立即參與指向的鏈接內容,可以選擇默認,也可以自行根據需要調整。如下所示:
2.63 購票設置:如該活動涉及到門票類型購買,可在費用設置里添加實際的門票類型和費用(當不設置費用類型,則點擊“報名參與”按鈕,將使用系統表單,如:生日、婚禮等,不需要報名費用);報名字段則是提交購買門票時需要填寫的信息設置,可按實際需求增加,以及設置是否為必填;報名Banner即上傳一張展示圖。如下所示:

2.64 分享信息:可以上傳活動縮略圖、設置分享標題和分享描述。當生成鏈接進行分享時,則會顯示該分享內容。如下所示:

2.65推廣海報:默認分享海報圖,可自定義上傳,按照要求上傳分享海報(尺寸750x1334p支持jpg png格式、大小2M以內)以及設置海報上所展示信息。如是否顯示昵稱,頭像。主標題,副標題自行設置,活動時間根據該活動實際的啟動時間顯示。設置后右上角記得保存當前數據,手機端瀏覽可生成海報進行分享。如下所示:

關于營銷工具
2.66 閱讀營銷獎勵金:可根據活動需要進行充值和開啟設置(主辦方充值),充值和開啟后,用戶登錄瀏覽活動即可獲取對應金額的閱讀獎勵金
特別注意:
充值金額只能為100的倍數,最低充值100.00元,單筆最高10000.00元
當前手續費費率為:2%;該費用為微信收取,本平臺未收取任何費用。
獎勵金設置有隨機獎勵和固定獎勵,隨機獎勵即在最低和最高金額區間中隨機產生;固定獎勵即每人每次都是固定的獎勵金。如下所示:
2.67 傭金營銷:開啟后根據活動實際情況,設置傭金分成規則,此為傭金比例,只有以下3種方式可以獲得:邀請報名成功即是分享購買門票;搶購下單即是爆款搶購營銷產品;拼團下單即是團購營銷產品分傭。如下所示:
2.68 互動抽獎營銷:可根據活動需要,創建互動抽獎游戲,包括活動抽獎類型、抽獎條件設置、獎品類型設置。獎品名次最多可設置六等獎。如下所示:


游戲提交保存后,開始設置獎項名稱和獎品數量,每個獎項添加的設置流程是一樣的。如下所示:
當該抽獎游戲設置檢查好,即可啟動使用。
中獎記錄:即該抽獎游戲中中獎人員信息,可查看是否兌獎狀態,并導出表格數據。如下所示:

2.69 爆款搶購營銷:根據活動需要發布爆款搶購產品,即秒殺產品??梢孕掳l布,或者原先有產品庫上傳過直接選擇產品庫的產品上架。帶*號為必填??稍O置產品介紹、原價、搶購價、產品分傭比例。直接單個發布新爆款產品,也可點擊產品庫先在產品庫新增產品,再選擇使用。如下所示:


2.691 團購營銷:全局設置:根據活動需要上線團購產品,及設置最低成團人數和組團時間(活動發布后不可變更)。如下所示:

團購產品管理:可新發布拼團產品,設置產品介紹、原價、拼團價、產品分傭比例。直接單個發布團購產品,也可點擊產品庫先在產品庫新增產品,再選擇使用。如下所示:


2.692裂變助力:通過設置助力產品,引導用戶購買后做分享裂變,同時根據設置的活動要求,分享解鎖,通過邀請解鎖或者下單解鎖,對應可以獲得獎勵。如下所示:



2.7短信管理:此處不是指的用戶下單接收短信提醒
(用戶購買門票/爆款/拼團產品,主辦方會收到短信通知,短信由總部免費提供發送,不需要另外充值)
此處短信管理是主辦方可以購買短信條數,用于短信群發通知參加活動的用戶(即購買門票用戶),購買短信條數可以根據需要自定義數量,如下圖所示:

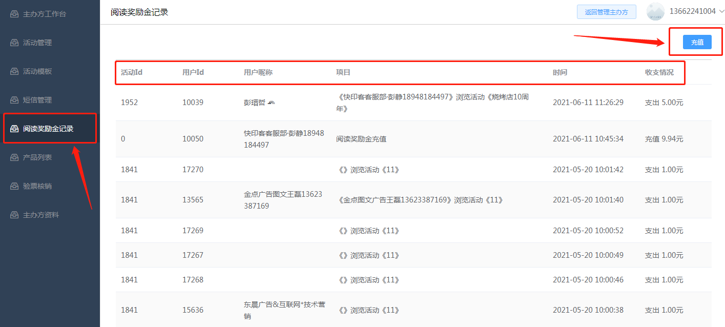
2.8閱讀營銷獎勵金:此處為該活動下,閱讀營銷獎勵金收入和支出領取的記錄。同時可以在此處進行充值。如下所示:

2.9產品列表:可在此處自行新增產品,此處為產品庫。可自行設置修改產品信息,庫存、價格、規格屬性等?;蛘邉h除操作。另在添加爆款/團購產品時,也可以直接選擇產品庫里的商品使用。如下所示:

2.10 驗票核銷:當用戶下單后,到店可通過用戶下單后手機上的核銷串碼輸入進行核銷(根據購買產品類型,如爆款/拼團/門票,在手機端對應訂單位置找到)商家在電腦端該位置可以選擇商品,或者門票,輸入核銷串碼點擊進行核銷。如下所示:

2.11: 主辦方資料:可以修改更新主辦方頭像,名稱,電話等,另設置核銷密碼,即用戶自提訂單到店核銷商家輸入的密碼;訂單完成天數最小15天,也就是默認自動確認收貨周期。如下所示: