智慧防偽溯源2.0幫助指引
一、關于防偽溯源系統功能介紹
基于一物一碼為企業定制各類解決方案,實現從原材料-生產投料-生產包裝-倉儲物流-市場等各環節全過程追溯和管理,為企業實現數字化、智能化的管理。
亮點功能如下所示:
1.掃碼驗證,防偽碼批量生成,可靈活性定義使用對接自己的規則體、前綴自定義、長度、格式自定義
2.防偽紅包、批量一鍵生成紅包·定位領取人所在位置
3.加持防偽功能;未領取的防偽碼為正品防竄貨、防假冒、防偽查詢結果語音播報查詢后可在微信平臺自動語音播報查詢結果,語音播報內容可自定義設置
二、關于進入后臺界面的具體操作設置步驟
第一步:進入防偽溯源管理
1、首先登陸智慧云碼管理后臺,點擊已開通產品,找到智慧防偽溯源,點擊進入管理,如下圖所示:
第二步:產品管理
首先,創建溯源產品,需要在系統中新增產品的類別,規格,品牌和經銷商之后,再進行產品的添加,步驟如下:
1.產品類別設置中,點擊【添加產品類別】。輸入分類名稱,圖片等字段,點擊【保存】按鈕,提交后成功創建新的產品類別。

2.產品規格模型中,點擊【添加規格模型】。輸入參數名稱等字段,點擊【保存】按鈕,提交后成功創建產品規格。

3.產品品牌設置中,點擊【添加品牌】。輸入品牌名稱等字段,點擊【保存】按鈕,提交后成功創建新的產品品牌。

4.經銷商設置中,點擊【添加經銷商】。輸入供應商名稱等字段,點擊【保存】按鈕,提交后成功創建經銷商。

5.在產品管理頁面,點擊【添加產品】。輸入產品名稱,圖片,內容等,保存提交后,即新建了一條產品數據。

第三步:批量創建防偽溯源碼
方式一:
1.點擊防偽碼中的批量生成防偽碼。
2.輸入防偽碼前綴,長度,生成數量,所屬產品,經銷商,狀態,保存提交即可。
方式二:批量導入防偽碼(自定義編輯防偽溯源碼編號、條形碼)
點擊【上傳文件】,選擇文件后,【確認導入】即可。
注:防偽碼前綴(如無需要可不填寫(長度為0-4位數字或字母)+防偽碼長度(不包含防偽碼前綴長度,建議長度為15-20位),防偽碼格式(前綴+數字和字母/前綴+字母/前綴+數字)
其他:
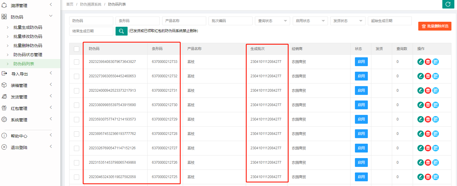
點擊防偽碼列表,可以搜索,修改,刪除,查看防偽碼。
點擊產品的條形碼,可以展示當前商品的條碼圖(如下圖所示)。
點擊二維碼圖標,可以展示當前商品的二維碼。微信掃碼后,可以查看該商品的防偽碼,商品名稱,經銷商,生產批號,日期。客戶可以在商品上留言,進行問題反饋。



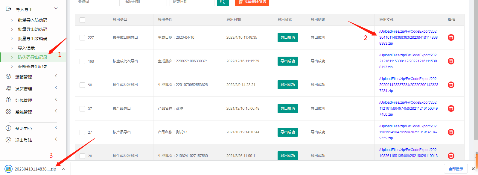
第四步:關于如何批量導出防偽碼?如下所示:
1.點擊批量導出防偽碼。
2.例如按產品ID導出,選擇任一產品,【確認選擇】后,點【確認導出】即可。



關于防偽碼狀態管理怎么使用?
1.點擊防偽碼中的防偽碼狀態管理。
2.選擇啟用或者禁用。例如選擇某一產品,點【確定】按鈕,可以對防偽碼進行狀態的啟用和禁用。
第五步:關于紅包賬戶管理
①使用紅包首先要給賬戶充值。
1.點擊【充值】按鈕。
2.掃描彈出的二維碼進行支付。
3.充值成功后,查看賬戶余額和已經成功充值的金額。已發出的紅包會顯示在支出總額中。

②紅包生成怎么使用?
1.點擊紅包生成。
2.選擇指定的生成條件。例如:按產品名稱指定。選擇產品后,填寫要發放的紅包金額。
3.在紅包列表中,就可以生成對應產品的紅包記錄,用戶掃碼該產品,即可領取紅包。

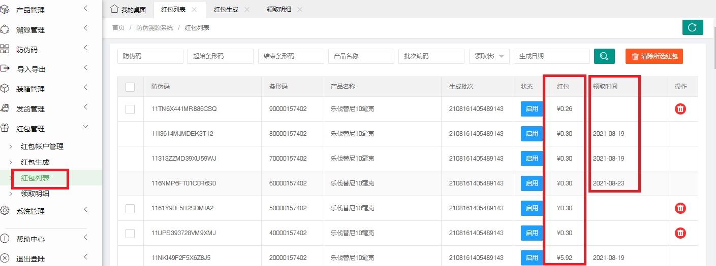
③紅包列表
1.可查看產品的紅包生成明細,紅包金額,用戶領取時間等。
2.在防偽碼列表中,掃碼二維碼,手機端可以領取到紅包,用戶領取的紅包可以直接到賬微信零錢。

紅包領取明細主要是用來展示領取紅包的用戶詳細信息。包括用戶姓名,領取時間,具體地理位置等。
第六步:裝箱管理
產品裝箱的包裝碼。他的作用主要是用來給產品上的包裝賦碼。支持單個裝箱/大箱裝小箱
1.點擊包裝碼管理。
2.點擊【添加包裝碼】按鈕,輸入防偽碼前綴,長度,數量等,保存后,即可生產一批包裝碼。
3.成功創建一批包裝碼,可以根據包裝碼,條形碼,生產批次,創建時間,和發貨狀態等條件進行搜索。
4.點擊條形碼區域,和生成二維碼,顯示的是商品的條形碼和生成的二維碼。如圖。
5.點擊刪除小圖標或者點擊【批量刪除所選】,可以刪除包裝碼。



關于單個裝箱怎么操作?如下所示:
1.點擊單個裝箱。輸入產品條形碼。外箱條碼。外箱條碼主要是通過掃描或者錄入的。
2.點擊【保存】提交。即完成單個裝箱操作。也可以模板批量導入。支持xls、xlsx、cvs、txt,一行一個條碼。

關于大箱裝小箱怎么操作?具體如下所示:
1.點擊大箱裝小箱。輸入產品條形碼。外箱條碼。外箱條碼主要是通過掃描或者錄入的。
2.點擊【保存】提交。及完成大箱裝小箱操作。也可以模板批量導入。支持xls、xlsx、cvs、txt,一行一個條碼。

關于裝箱記錄怎么使用?具體如下所示:
裝修記錄用來查看已經裝修的記錄。包括外箱條碼,內箱條碼,裝箱數量和裝箱時間。點擊紅色刪除小圖標,可以刪除裝箱記錄。

第七步:發貨管理
關于單個發貨怎么使用?具體如下所示:
1.點擊單個發貨。輸入產品條形碼。經銷商。
2.點擊【保存】即完成單個發貨。也可以模板批量導入。支持xls、xlsx、cvs、txt,一行一個條碼。

關于整箱發貨怎么使用?具體如下所示:
1.點擊整箱發貨。輸入產品條形碼。經銷商。
2.點擊【保存】即可完成整箱發貨。也可以模板批量導入。支持xls、xlsx、cvs、txt,一行一個條碼。

關于發貨記錄怎么使用?具體如下所示:
發貨記錄查看的是產品單個或者整箱發貨的具體記錄。可以搜索,刪除,查看發貨信息。
關于取消單個發貨怎么使用?具體如下所示:
1.點擊取消單個發貨。輸入產品條形碼。
2.點擊【保存】即可取消發貨。也可以模板批量導入。支持xls、xlsx、cvs、txt,一行一個條碼。

關于取消整箱發貨怎么使用?具體如下所示:
1.點擊取消整箱發貨。輸入產品條形碼。
2.點擊【保存】即可取消發貨。也可以模板批量導入。支持xls、xlsx、cvs、txt,一行一個條碼。

關于如何批量導出裝碼箱?具體如下所示:
1.點擊批量導出裝箱碼。
2.例如按生成日期導出,勾選需要導出的內容,可以導出當前日期下的裝箱碼數據。

第八步:關于追溯管理,具體如下所示:
1.添加追溯流程設置,在追溯流程設置中,點擊【添加新流程】。輸入流程名稱等必填項,保存。

2.流程追溯中添加產品的溯源信息。如:所屬產品,批次,前臺展示方式,流程簡介等。

3.在溯源信息列表,可以管理流程追溯添加的內容。搜索,修改,單個刪除,批量刪除溯源信息。

第九步:系統設置
系統設置用來自定義配置防偽溯源系統。如紅包發送人,電話,地址,系統名稱和LOGO圖標等。
其他:
關于反饋記錄怎么使用?具體如下所示:
反饋記錄可以查看用戶掃碼產品提交的反饋意見。詳細列出掃碼產品后,用戶反饋的內容,反饋時間,反饋人員信息等。

關于查詢記錄怎么使用?具體如下所示:
查詢記錄可以查看已經掃碼查詢的用戶信息,包括用戶的IP地址,省份市區,具體地址定位等。

關于查詢統計怎么使用?具體如下所示:
查詢統計主要是用來做圖表統計的。統計查詢次數和全國查詢的統計分布圖。

關于系統操作日志怎么使用?具體如下所示:
系統操作日志顯示的是現在和曾經登錄過的用戶對系統進行的各類操作行為。如圖所示: