文件碼功能可以根據各類活動所對應選擇需要展示的內容,比如圖集、視頻、音頻、文件等多種類型進行添加,也可以針對商家用戶有需添加自身廣告在此功能二維碼里進行投放,適用于各類活動場景使用!具體操作步驟如下所示:
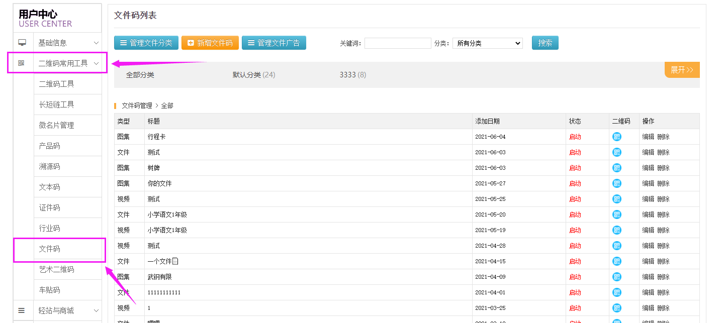
第一步:首先我們打開智慧云碼系統,然后找到二維碼常用工具,選擇文件碼,新增前可先選擇管理文件分類進行分類。如下圖所示:


第二步:管理文件分類,如圖:

第三步:管理文件分類好后,點擊新增文件碼進行打開,如下圖所示:

第四步:添加文件碼界面的相關信息一一根據所需內容填寫即可,帶星號為必填項;文件類型自行選擇即可。所屬分類則可選用已先設置好的分類選項;形象圖片上傳文件后則是用于分享顯示,推薦尺寸:320*240px。顯示狀態要啟動;是否展示廣告選擇顯示,則可對應前臺掃碼后呈現(具體設置詳情如下列第4步驟所示);外鏈文字和地址等有需對應填寫即可;所有信息填寫完畢點擊下一步保存成功即可!如下圖所示:


第五步:保存好以后可以開始選擇管理文件廣告進行廣告位內容搭建,點擊添加廣告,對應輸入鏈接地址和上傳圖片保存即可。(注:是否展示廣告記得前面要先選擇好顯示狀態。)如下圖所示:


第六步:上述步驟均已添加完畢后,可透過展開按鈕查看對應添加的各個分類,關鍵詞輸入搜索等。點擊二維碼圖標可以查看二維碼用于印刷線上宣傳發圈推廣等;同時后期需要修改還有編輯的時候可以選擇編輯或者刪除再次更新修改!如下圖所示:

